Интересное Полезное Развлечения
КиноТестыЗдоровьеСоветыСпортЕдаЖивотныеЮморПутешествияИсторияНаука и техникаМузыкаКосмосКомпьютерные игрыОбществоЗнаменитостиДизайнПогодаКультураЭкологияТехнологииНедвижимостьСтильИнтернетАвтоЛитератураГородПолитикаЭкономикаВидеоПроисшествияОбразованиеВоенное делоРелигияКриминалБизнесПравоВоенные конфликты

Компания Sony запатентовала динамическую сложность в играх

Данная система позволит игре самостоятельно регулировать настройки сложности, такие как «скорость движения, задержка, сила персонажей и количество конкурентов», на основе производительности игрока.

Японская компания Sony подала заявку на патентные системы, которые автоматически изменяют сложность игры в зависимости от умений геймера. Данная система позволит игре самостоятельно регулировать настройки сложности, такие как «скорость движения, задержка, сила персонажей и количество конкурентов» на основе производительности игрока.

В целом данная идея не нова, поскольку в игре Left 4 Dead был искусственный интеллект, который посылал на геймера стаи врагов в зависимости от умений человека. Схожая система была использована и в других играх вроде Outriders, а в прошлом году ЕА получила патент, в рамках которого программное обеспечение реагирует на производительность игрока. Правда, в последнем случае система нацелена на ввод со стороны контроллера.

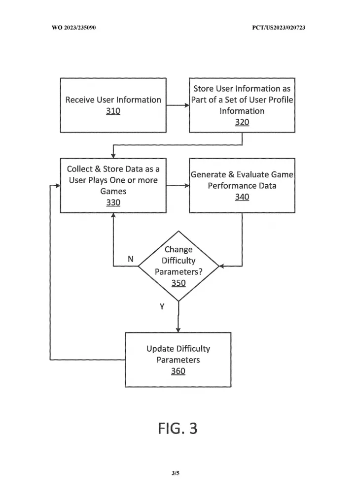
Схема работы нового ИИ. Схема работы нового ИИ.© Sony


Тем не менее идея Sony звучит довольно интересно, поскольку она позволит постоянно держать игрока в напряжении, превращая любые драки в борьбу не на жизнь, а на смерть. Не менее круто звучит перетасовка значений урона в фоновом режиме, что уже используется в играх, однако не в динамическом формате. В остальном система постоянно меняет сложность игры в зависимости от действий конкретного пользователя, это её основная функция.

Как бы ни отреагировала ЕА на подобный плагиат патентов, эта ситуация показывает, что PlayStation смотрит в будущее такого рода технологий. Помимо представленного выше, Sony запатентовала обновлённую конструкцию контроллера DualSense, который будет самостоятельно подсказывать игрокам вибрацией, светом или даже перемещением джойстика, что им следует делать.